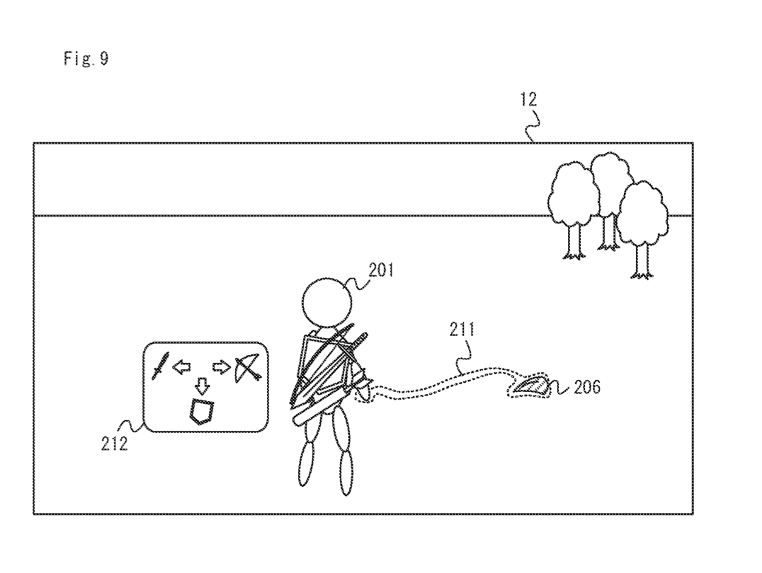
Celui-ci présente un mécanisme similaire à la fusion de Tears of the Kingdom, mais avec plusieurs étapes. La fusion s'applique normalement à deux objets maximum (impossible de fusionner trois épées). Ici, vous pouvez modifier la partie à fusionner avec votre arme.
On dirait donc un système de fusion similaire à TOTK mais en plus poussé.
Reste à savoir si cela restera au simple stade de brevet, ou si on risque de le voir dans un des prochains jeux Zelda(j'espère que non)....
https://x.com/MikeOdysseyYT/status/2023975880620446175

tags :
posted the 02/18/2026 at 10:09 AM by
ouroboros4
Mais c'est peut être moi...
Je vais bientôt me remettre à TOTK sur Switch 2. Malgré l’ambiance, la liberté et la créativité poussée, j’ai décroché à l'époque, en partie à cause des boutons, de la maniabilité et de l’ergonomie.
Ou alors, on peut peut-être aller ailleurs que hyrule. Peut-être dans d'autre royaume.
Après je fais confiance, c'est zelda.
Ras le bol du Hyrule de Breath of the Wild
En soit l'idée de rendre la composition de matériaux plus crédible et organique, ça peut apporter pas mal de choses positives, a voir comment ça peut servir le gameplay et veiller à ce que ce soit pas contre intuitif.
Dans TotK j'ai trouvé que globalement le jeu forçait pas à l'overdose l'utilisation des pouvoirs amalgame et coller, et il offre souvent énormément d'approches pour résoudre les énigmes, les rendant régulièrement optionnel et plutôt plaisant si ça me chauffait même si c'est pas nécessairement ce qui me plaît le plus dans un JV d'aventure.
Curieux de voir ce qu'ils peuvent proposer de different dans ce domaine par rapport a TotK s'ils le font vraiment. Les compositions restaient relativement basiques, ya certainement de faire les trucs mieux, mais rien que le fait de pouvoir appliquer aux fleches par exemples tout un tas de matériaux ou objets ça offre bcp de possibilités.
captainjuu j'y crois pas un instant un nouveau jeu dans cet Hyrule perso. Ils ont bien conscience j'espère que déjà c'était limite de ressortir un Zelda dans le même monde (contraintes pr en ressortir un sur cette génération), ce qui enlève une belle partie du plaisir de l'exploration et de la découverte pr ceux qui ont fait BotW avant...
J'avais déjà les boules pr TotK... Alors pas une nouvelle fois
Mais même comme ça c'était un vrai handicap pour apprécier le jeu. J'ai tout de même réussi à le finir, et a apprécier la proposition, même si j'ai conscience que j'ai effleuré seulement le potentiel du jeu. J'ai du faire 30-40% du contenu reel du jeu et pas vraiment l'envie d'en faire plus.
Ça sera différent je pense et j'espère pour le prochain épisode majeur.
En plus de plusieurs mondes parallèles, on aurai des pouvoirs propre à chaque lieu.